Запчасти для технического обслуживания АКПП FC6A145
Таблица периода технического обслуживания АКПП производства Shaanxi Fast Gear Co., LTD
Каталог запасных частей АКПП FC6A145
АКПП FC6A145 базовая модель


| № | Каталожный номер | Наименование | Кол-во |
| 1 | EU-82201200 | Корпус КПП в сборе | 1 |
| 2 | 293-9088 | Тормоз в сборе | 1 |
| 3 | Q150B1040TF2 | Болт с шестигранной головкой | 12 |
| Q401B10T28F2 | Прокладка | 12 | |
| 4 | 82203520 | Второй планетарный механизм в сборе | 1 |
| 5 | 82208112 | Главный вал | 1 |
| 6 | 82203137 | Двойной диск | 8 |
| 7 | 82203136 | Фрикционная пластина С5 | 7 |
| 8 | 82203536 | Упорный подшипник | 1 |
| 9 | EU-82203530-1 | Третий планетарный механизм в сборе | 1 |
| 10 | 82203586 | Конический роликовый подшипник | 2 |
| 11 | 82204132-1 | Прокладка бумажная | 1 |
| 12 | 82123584 | Шайба стопорная | 1 |
| 13 | 82203585-1 | Стопорный болт | 1 |
| 14 | 82123586 | Сальник | 1 |
| 15 | 82204400 | Масляный поддон в сборе | 1 |
| 16 | Q1841070T | Болт с шестигранной головкой | 31 |
| 17 | 82203510 | Первый планетарный механизм в сборе | 1 |
| 18 | 82203200 | Сцепление в сборе | 1 |
| 19 | 459-1195 | Упорный подшипник | 1 |
| 20 | 82202116-1 | Прокладка регулировочная | 1 |
| 21 | 82204133 | Прокладка бумажная | 1 |
| 22 | 82201255 | Прокладка бумажная | 1 |
| 23 | 82208811 | Кронштейн маслообменника в сборе | 1 |
| 24 | 82121257 | Кольцо уплотнительное | 4 |
| 25 | 82121258 | Кольцо уплотнительное | 2 |
| 26 | 82121259 | Кольцо уплотнительное | 2 |
| 27 | EU-82128810 | Теплообменник | 1 |
| 28 | 82121262 | Патрубок теплообменника | 2 |
| 29 | Q1840845T | Болт с шестигранной головкой | 16 |
| 30 | 82204100 | Передняя опорная пластина в сборе | 1 |
| 31 | Q1841065T | Болт с шестигранной головкой | 6 |
| 32 | Q1841030T | Болт с шестигранной головкой | 6 |
| 33 | 82201100 | Корпус гидротрансформатора в сборе | 1 |
| 34 | Q1841035T | Болт с шестигранной головкой | 21 |
| 36 | 82128710-1 | Блок управления в сборе | 1 |
| 37 | 82201252 | Распорка | 2 |
| 38 | Q1840850T | Болт с шестигранной головкой | 2 |
| 39 | 82201258 | Болт с шестигранной головкой | 2 |
| 40 | 82204500 | Щуп масляный в сборе | 1 |
| 41 | 82203587 | Фланец | 1 |
| 42 | 82123588 | Кольцо уплотнительное | 1 |
| 43 | 82203589 | Фланцевая крышка | 1 |
| 44 | 82201261 | Болт с шестигранной головкой | 1 |
| 45 | 82202022 | Зажим | 3 |
| 46 | Q1841025T | Болт | 3 |
| 47 | 82202021-1 | Табличка | 1 |
| 48 | 82202023 | Пылезащитный колпачок | 2 |
| 49 | FQLS0512H130T | Болт с шестигранной головкой | 11 |
| 50 | 82208525-1 | Внешний жгут проводов в сборе | 1 |
| 51 | 82201110 | Крышка задняя в сборе | 1 |
| 52 | 82121266 | Болт с шестигранной головкой | 15 |
| 53 | 82206102 | Маслонаправляющее кольцо | 1 |
АКПП FC6A145 в сборе (ретардер)


| № | Каталожный номер | Наименование | Кол-во |
| 1 | 82201200 | Корпус КПП в сборе | 1 |
| 2 | 293-9088 | Тормоз в сборе | 1 |
| 3 | Q150B1040TF2 | Болт с шестигранной головкой | 12 |
| Q401B10T28F2 | Прокладка | 12 | |
| 4 | 82203520 | Второй планетарный механизм в сборе | 1 |
| 5 | 82208112 | Главный вал | 1 |
| 6 | 82203137 | Двойной диск | 8 |
| 7 | 82203136 | Фрикционная пластина С5 | 7 |
| 8 | 82203536 | Упорный подшипник | 1 |
| 9 | 82203530 | Третий планетарный механизм в сборе | 1 |
| 10 | 82203586 | Конический роликовый подшипник | 1 |
| 11 | 82204132 | Прокладка бумажная | 1 |
| 12 | 82123584 | Шайба стопорная | 1 |
| 13 | 82203585 | Стопорный болт | 1 |
| 14 | 82123586 | Сальник | 1 |
| 15 | 82204400 | Масляный поддон в сборе | 1 |
| 16 | Q1841070T | Болт с шестигранной головкой | 31 |
| 17 | 82203510 | Первый планетарный механизм в сборе | 1 |
| 18 | 82203200 | Сцепление в сборе | 1 |
| 19 | 459-1195 | Подшипник упорный | 1 |
| 20 | 82202116-1 | Прокладка регулировочная | 1 |
| 21 | 82204133 | Прокладка бумажная | 1 |
| 22 | 82201255 | Прокладка бумажная | 1 |
| 23 | EU-82208811 | Кронштейн теплообменника в сборе | 1 |
| 24 | 82121257 | Кольцо уплотнительное | 4 |
| 25 | 82121258 | Кольцо уплотнительное | 2 |
| 26 | 82121259 | Кольцо уплотнительное | 2 |
| 27 | 82128810 | Теплообменник | 1 |
| 28 | 82121262 | Разъем | 1 |
| 29 | Q1840845T | Болт с шестигранной головкой | 16 |
| 30 | 82204100 | Передняя опорная пластина в сборе | 1 |
| 31 | Q1841065T | Болт с шестигранной головкой | 6 |
| 32 | Q1841030T | Болт с шестигранной головкой | 6 |
| 33 | 82201100 | Корпус гидротрансформатора в сборе | 1 |
| 34 | Q1841035T | Болт с шестигранной головкой | 21 |
| 36 | 82128710-1 | Блок управления | 1 |
| 37 | 82201252 | Распорка | 2 |
| 38 | Q1840850T | Болт с шестигранной головкой | 2 |
| 39 | 82201258 | Болт с шестигранной головкой | 5 |
| 40 | 82204500 | Щуп масляный в сборе | 1 |
| 41 | 82203587 | Фланец | 1 |
| 42 | 82123588 | Кольцо уплотнительное | 1 |
| 43 | 82203589 | Фланцевая крышка | 1 |
| 44 | 82201261 | Болт с шестигранной головкой | 1 |
| 45 | CX28-1501915 | Держатель | 3 |
| 46 | Q1841025T | Болт с шестигранной головкой | 3 |
| 47 | 82202021-1 | Табличка | 1 |
| 48 | 82202023 | Пылезащитный колпачок | 2 |
| 49 | 82201256-1 | Болт с шестигранной головкой | 11 |
| 50 | EU-82208525 | Внешний жгут проводов в сборе | 1 |
| 51 | 82206200 | Задняя крышка ретардера в сборе | 1 |
| 52 | 82201257 | Болт с шестигранной головкой | 15 |
| 53 | 81818526 | Зажим | 1 |
| 54 | 82126300 | Клапан управления замедлителем в сборе | 1 |
| 55 | 82201300 | Статор замедлителя в сборе | 1 |
| 56 | 82204810 | Аккумулятор в сборе | 1 |
| 57 | 82206100 | Ротор замедлителя в сборе | 1 |
| 58 | 82206105-1 | Прокладка регулировочная | 1 |
| 59 | 82206106 | Прокладка бумажная | 1 |
| 60 | Q1840835T | Болт с шестигранной головкой | 3 |
Корпус АКПП FC6A145 в сборе
82201200

| № | Каталожный номер | Наименование | Кол-во |
| 1 | 191-8304 | Датчик скорости | 1 |
| 2 | 82201107 | Кольцо уплотнительное | 1 |
| 3 | 82201109 | Болт с шестигранной головкой | 1 |
| 4 | EU-82201210 | Корпус АКПП | 1 |
| 5 | 82204504 | Кольцо уплотнительное | 1 |
| 6 | 82204816 | Заглушка | 1 |
| 7 | Q1840825T | Болт с шестигранной головкой | 1 |
Тормоз в сборе АКПП FC6A145
293-9088

Второй планетарный механизм в сборе АКПП FC6A145
82203520

Третий планетарный механизм в сборе АКПП FC6A145
82203530-1

| № | Каталожный номер | Наименование | Кол-во |
| 1 | 82203272 | Втулка | 1 |
| 2 | 82203541-1 | Вал выходной | 1 |
| 3 | 82203526 | Упругий цилиндрический штифт | 4 |
| 4 | 82203531-1 | Корпус планетарного механизма | 1 |
| 5 | 82203533 | Планетарная шестерня | 4 |
| 6 | 82203534 | Подшипник игольчатый | 8 |
| 7 | 82203535 | Шайба упорная | 8 |
| 8 | 82203538 | Вал планетарного механизма | 4 |
| 9 | 82203527 | Металлическая заглушка | 4 |
Третий планетарный механизм в сборе АКПП FC6A145R
82203530

Масляный поддон в сборе АКПП FC6A145,FC6A145R
82204400

Корпус гидравлического клапана в сборе FC6A145,FC6A145R
82204200

Диагностический золотниковый клапан в сборе АКПП FC6A145,FC6A145R

| № | Каталожный номер | Наименование | Кол-во |
| 1 | 81814248 | Датчик давления | 1 |
| 2 | 82204243 | Корпус диагностического золотникового клапана | 1 |
| 3 | 82204244 | Диагностический золотниковый клапан | 1 |
| 4 | 82204245 | Пружина диагностического золотникового клапана | 1 |
| 5 | 82204246 | Поршень | 1 |
| 6 | 82204247 | Заслонка диагностического клапана | 1 |
Первый планетарный механизм в сборе АКПП FC6A145,FC6A145R
82203510

Сцепление в сборе АКПП FC6A145,FC6A145R
82203200

Кронштейн маслообменника в сборе АКПП FC6A145,FC6A145R
82208811

Передняя опорная пластина в сборе АКПП FC6A145,FC6A145R
82204100

| № | Каталожный номер | Наименование | Кол-во |
| 1 | 82204110 | Передняя опорная пластина в сборе | 1 |
| 2 | 82204119 | Втулка | 1 |
| 3 | 82204105 | Масляный насос | 1 |
| 4 | 82204118 | Кольцо корпуса масляного насоса | 3 |
| 5 | 82204104 | Кольцо уплотнительное | 1 |
| 6 | 82204106 | Передняя опорная пластина | 1 |
| 7 | Q1841030TF2 | Болт с шестигранной головкой | 10 |
| 8 | Q1841060TF2 | Болт с шестигранной головкой | 8 |
Корпус гидротрансформатора в сборе АКПП FC6A145,FC6A145R
82201100

| № | Каталожный номер | Наименование | Кол-во |
| 1 | 81811103 | Вентиляционная пробка | 1 |
| 2 | 81818526 | Зажим | 1 |
| 3 | 82201101 | Корпус гидротрансформатора | 1 |
| 4 | 191-8304 | Датчик скорости | 1 |
| 5 | 82201107 | Кольцо уплотнительное | 1 |
| 6 | 82201109 | Болт с шестигранной головкой | 1 |
Блок управления в сборе АКПП FC6A145,FC6A145R
82128710-1

| № | Каталожный номер | Наименование | Кол-во |
| 1 | 81818711 | Блок управления | 1 |
| 2 | 81818723 | Прокладка демпфирования | 8 |
| 3 | 81818724 | Распорка | 4 |
| 4 | 81818725 | Шайба | 4 |
| 5 | 81818725-1 | Шайба | 4 |
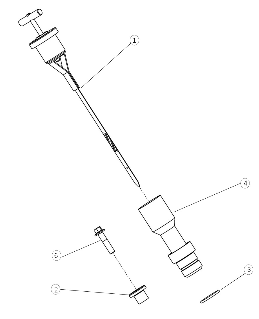
Масляный щуп в сборе АКПП FC6A145,FC6A145R
82204500

| № | Каталожный номер | Наименование | Кол-во |
| 1 | 82204502 | Щуп | 1 |
| 2 | 81814503 | Прижим | 1 |
| 3 | 6V-6228 | Кольцо уплотнительное | 1 |
| 4 | 279-9347 | Трубка щупа в сборе | 1 |
| 6 | Q1840835T | Болт с шестигранной головкой | 1 |
Внешний жгут проводов в сборе FC6A145
82208525-1

| № | Каталожный номер | Наименование | Кол-во |
| 1 | 82128524 | Держатель жгута проводов | 7 |
| 2 | 3S-2093 | Крепежные ремни жгута проводов | 8 |
| 3 | 82208520-1 | Внешний жгут проводов в сборе | 1 |
Внешний жгут проводов в сборе FC6A145R
82208525

| № | Каталожный номер | Наименование | Кол-во |
| 1 | 82128524 | Держатель жгута проводов | 8 |
| 2 | 3S-2093 | Крепежные ремни жгута проводов | 10 |
| 3 | 82208520 | Внешний жгут проводов в сборе | 1 |
Внешний жгут проводов в сборе FC6A145R
82208525-2

| № | Каталожный номер | Наименование | Кол-во |
| 1 | 82128524 | Держатель жгута проводов | 8 |
| 2 | 3S-2093 | Крепежные ремни жгута проводов | 10 |
| 3 | 82208520-2 | Внешний жгут проводов в сборе | 1 |
Задняя крышка в сборе АКПП FC6A145
82201110

| № | Каталожный номер | Наименование | Кол-во |
| 1 | 191-8303 | Датчик скорости | 1 |
| 1 | 82201105-1 | Датчик скорости | 1 |
| 2 | 82201107 | Кольцо уплотнительное | 1 |
| 3 | 82201109 | Болт с шестигранной головкой | 2 |
| 4 | 82201111 | Корпус задней крышки | 1 |
| 5 | 82201302 | Кольцо уплотнительное | 1 |
| 6 | EU-82201303 | Поршень С5 | 1 |
| 7 | 82201304 | Кольцо уплотнительное | 1 |
| 8 | 82201305 | Пружина в сборе | 1 |
| 9 | 82201306 | Кольцо уплотнительное | 1 |
| 10 | 82201307 | Кольцо стопорное | 1 |
Задняя крышка ретардера в сборе АКПП FC6A145R
82206200

| № | Каталожный номер | Наименование | Кол-во |
| 1 | 82124817 | Фитинг 90 градусов | 1 |
| 2 | 256-6453 | Датчик температуры | 1 |
| 3 | 82126210 | Клапан потока замедлителя | 1 |
| 4 | 82126211 | Пружина | 1 |
| 5 | 82201105-1 | Датчик скорости | 2 |
| 6 | 82201107 | Кольцо уплотнительное | 2 |
| 7 | 82201109 | Болт с шестигранной головкой | 2 |
| 8 | 82206200-1 | Задняя крышка ретардера | 1 |
| 9 | Q43042К | Кольцо стопорное | 2 |
| 10 | 82206207 | Заглушка | 1 |
| 11 | 82206212 | Прокладка бумажная | 1 |
| 12 | 82206213 | Крышка | 1 |
| 13 | 82206217 | Распорка | 1 |
| 14 | Q1841025T | Болт с шестигранной головкой | 15 |
Клапан управления замедлителем в сборе АКПП FC6A145R

| № | Каталожный номер | Наименование | Кол-во |
| 1 | 81814235 | Пропорциональный электромагнитный клапан NL | 1 |
| 2 | 9S-8004 | Заглушка манометра | 1 |
| 3 | 82126301 | Корпус клапана управления замедлителем | 1 |
| 4 | 82126302 | Жгут проводов управления замедлителем | 1 |
| 5 | 82126303 | Заглушка | 2 |
| 6 | 82126304 | Ограничительный штифт | 1 |
| 7 | 82126305 | Релейный клапан | 1 |
| 8 | 82126306 | Пружина релейного клапана | 1 |
| 9 | 82126308 | Клапан регулировки давления ретардера | 1 |
| 10 | 82126309 | Пружина клапана регулировки давления | 1 |
| 11 | 82126310 | Прокладка | 1 |
| 12 | 82126311 | Крышка | 1 |
| 13 | 82126312 | Соединение | 1 |
| 14 | 82126313 | Кольцо уплотнительное | 1 |
| 15 | 82126316 | Объединительная плата | 1 |
| 16 | 82126317 | Прокладка клапана замедлителя | 2 |
| 17 | 81814422 | Кольцо уплотнительное | 1 |
| 18 | Q1840616T | Болт с шестигранной головкой | 1 |
| 19 | Q1840620T | Болт с шестигранной головкой | 6 |
Статор замедлителя в сборе АКПП FC6A145R
82201300

| № | Каталожный номер | Наименование | Кол-во |
| 1 | 82201301 | Статор | 1 |
| 2 | 82201302 | Кольцо уплотнительное | 2 |
| 3 | 82201303 | Поршень С5 | 1 |
| 4 | 82201304 | Кольцо уплотнительное | 1 |
| 5 | 82201305 | Пружины в сборе | 1 |
| 6 | 82201306 | Кольцо уплотнительное | 1 |
| 7 | 82201307 | Кольцо стопорное | 1 |
Аккумулятор в сборе АКПП FC6A145R
82204810

| № | Каталожный номер | Наименование | Кол-во |
| 1 | 82124811 | Кронштейн аккумулятора | 1 |
| 2 | 82124812 | Аккумулятор | 1 |
| 3 | 82124813 | Зажим | 2 |
| 4 | 82124814 | Распорка | 2 |
| 5 | 82124818 | Фитинг | 1 |
| 6 | 82204815 | Соединительная трубка в сборе | 1 |
| 7 | Q1841030T | Болт с шестигранной головкой | 2 |
| 8 | Q1841060T | Болт с шестигранной головкой | 2 |
| 9 | Q340B12 | Гайка | 8 |
Ротор ретардера в сборе АКПП FC6A145R
82206100

| № | Каталожный номер | Наименование | Кл-во |
| 1 | 82206101 | Ротор ретардера | 1 |
| 2 | 82206104 | Кольцо уплотнительное | 2 |
Гидротрансформатор в сборе АКПП FC6A145R
82202110

| № | Каталожный номер | Наименование | Кол-во |
| 1 | 5G-7636 | Штифт | 2 |
| 2 | 82202120 | Насосное колесо в сборе | 1 |
| 3 | Q150B1030TF61 | Болт | 8 |
| 4 | Q401B10T28F61 | Шайба | 26 |
| 5 | 82202132 | Дорожка одностороннего сцепления | 1 |
| 6 | 289-4141 | Опора односторонней вилки | 1 |
| 7 | 82202144 | Направляющее колесо | 1 |
| 8 | 298-8702 | Упорная площадка | 1 |
| 9 | 5P-6414 | Упорное кольцо | 2 |
| 10 | 8P-7858 | Пружина ролика одностороннего сцепления | 9 |
| 11 | 268-5577 | Турбина | 1 |
| 12 | 260-8733 | Демпфер крутильных колебаний в сборе | 1 |
| 13 | 8T-9515 | Болт | 16 |
| 14 | 82202135 | Фрикционная пластина | 2 |
| 15 | 82202155 | Двойной диск | 2 |
| 16 | 82202169 | Кольцо уплотнительное | 1 |
| 17 | 82202168 | Поршень блокирующего фрикциона | 1 |
| 18 | 83002122 | Кольцо уплотнительное крышки трансформатора | 1 |
| 19 | 82202167 | Корпус блокирующего фрикциона | 1 |
| 20 | Q150B1060TF61 | Болт | 18 |
| 21 | 83002114 | Подшипник шариковый | 1 |
| 22 | 83002118 | Прокладка | 1 |
| 23 | 7S-7018 | Кольцо уплотнительное | 1 |
| 24 | 260-3738 | Болт | 1 |
| 25 | 6V-8260 | Кольцо уплотнительное | 1 |
| 26 | 384-0741 | Направляющая опора | 1 |
| 27 | 5E-8771 | Кольцо уплотнительное | 1 |
| 28 | 5K-9065 | Кольцо стопорное | 1 |
| 29 | 228-7096 | Кольцо уплотнительное | 1 |
| 30 | 9S-8010 | Винт-заглушка | 1 |
| 31 | 82202145 | Кольцо уплотнительное | 3 |
| 32 | 323-2093 | Пластина шлица | 1 |
| 33 | 82202124 | Кольцо уплотнительное | 1 |
| 34 | 323-2092 | Разделитель | 1 |
| 35 | 298-8699 | Кольцо стопорное | 1 |
| 36 | 258-5663 | Ступица турбины | 1 |
| 37 | 4S-8541 | Штифт | 1 |
| 38 | 264-6086 | Упорная площадка | 1 |
| 39 | 259-6395 | Упорная площадка | 1 |
| 40 | 8P-7857 | Ролик | 9 |
| 41 | 304-2746 | Упорный подшипник | 1 |
| 42 | 82202151 | Опора насосного колеса | 1 |
-
Болт с шестигранной головкой 82201256-1
82201256-1 -
Фрикционный диск 82203131-1
82203131-1 -
Уплотнительная прокладка седла фильтра тонкой очистки масла 82204441
82204441 -
Уплотнительное кольцо 6V-5050-1
6V-5050-1 -
Уплотнительное кольцо
81814450 -
Уплотнительное кольцо 81814449
81814449 -
Комплект фильтров АКПП FC6A145 SHAANXI FAST GEAR 82204440-5
82204440-5 -
Масло трансмиссионное Fast Super ATF (бочка 209л.) FL-04A
FL-04A -
Диагностическое оборудование "Kvaser Leaf Light v2
WPLL00685-C3 -
Шайба стопорная 82123584
82123584 -
Стопорный болт 82203585-1
82203585-1 -
Сальник 82123586
82123586 -
Болт с шестигранной головкой Q1841070T
Q1841070T -
Подшипник упорный 459-1195
459-1195 -
Прокладка регулировочная 82202116-1
82202116-1 -
Прокладка бумажная 82204133
82204133 -
Прокладка бумажная 82201255
82201255 -
Кольцо уплотнительное 82121257
82121257 -
Теплообменник EU-82128810
EU-82128810 -
Болт с шестигранной головкой 82201257
82201257 -
Клапан управления ретардером в сборе 82126300
82126300 -
Прокладка регулировочная 82206105-1
82206105-1 -
Прокладка бумажная 82206106
82206106 -
Болт с шестигранной головкой Q1840835T
Q1840835T -
Поршень 82203121
82203121 -
Корпус тормоза EU-82203122
EU-82203122 -
Внешнее уплотнительное кольцо 82203124
82203124 -
Датчик скорости 191-8304
191-8304 -
Кольцо уплотнительное 82201107
82201107 -
Корпус АКПП EU-82201210
EU-82201210






